📝 Aprašymas
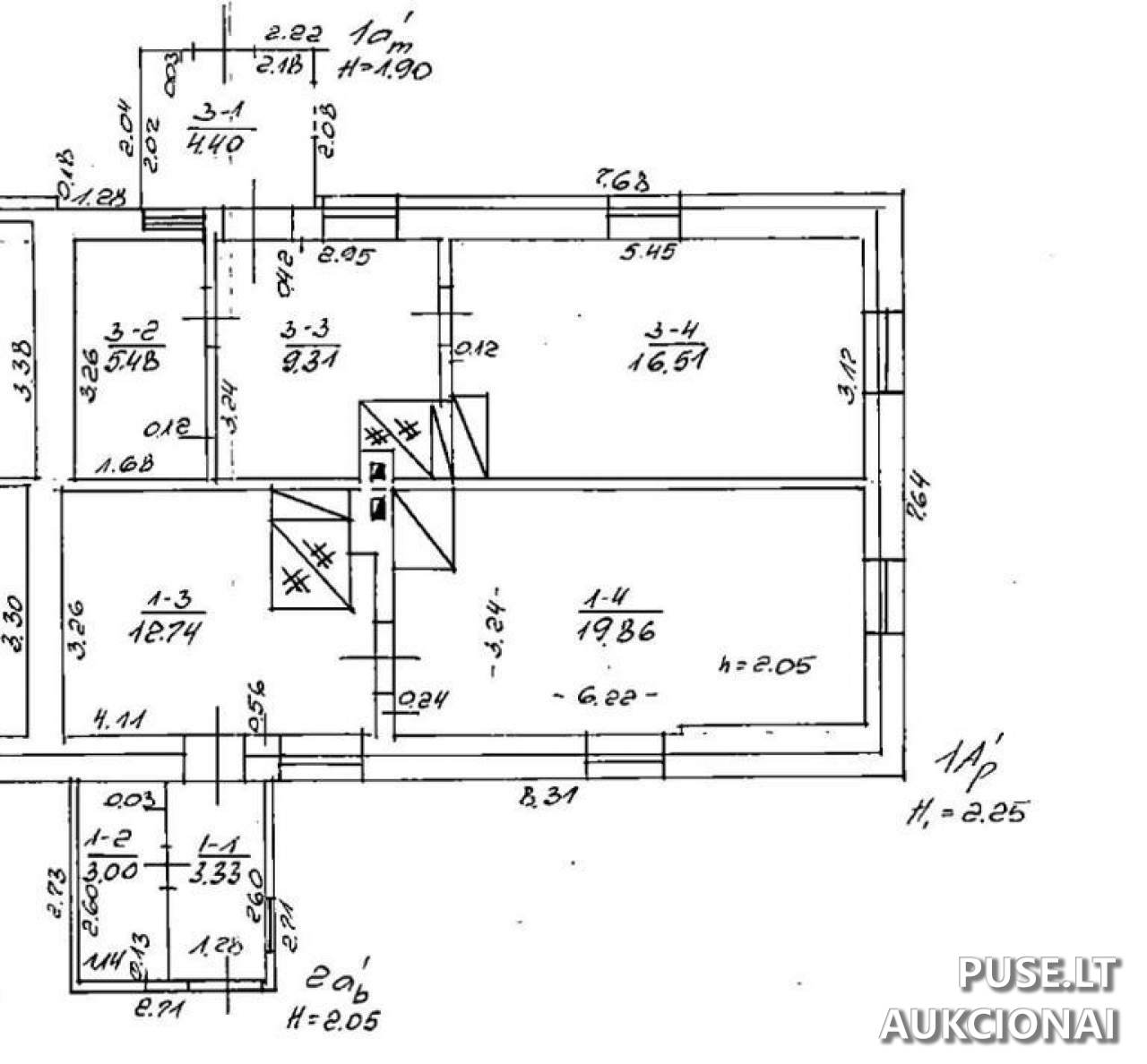
Parduodamas dalinis nekilnojamojo turto objektas Klaipėdos rajono savivaldybėje, Priekulės seniūnijoje, Stragnų II kaime, adresu Šauklių g. 1B. Aukciono būdu parduodamas 1/1 dalis buto, bendro ploto 38.93 kv. m, unikalus Nr. 4400-0666-1269:6036. Taip pat minimas ir greta esantis butas 35.70 kv. m (unikalus Nr. 4400-0666-1290:6037, adresas Šauklių g. 1B-3). Šiuo metu abu butai dėl įrengtų vidinių pertvarų (papildomos durys iš 1-3 patalpos į 3-3 patalpą) faktiškai naudojami kaip vienas vienetas, tačiau įėjimo situacija yra specifinė: panaikintas įėjimas iš lauko į 3 butą, o įėjimas įrengtas tik per pirmą butą (pvz. nėra patalpos 3-1 ir durų iš 3-1 į 3-3).
Pradinė šio nekilnojamojo turto kaina aukcione yra 12231 EUR. Būtina sumokėti 1223 EUR garantinį mokestį ir 40 EUR registracijos mokestį. Pirkėjas įgyja turtą esamos fizinės ir funkcinės būklės bei pagal galiojančius kadastro duomenis. Pardavėjas Valstybės įmonė Turto bankas neįsipareigoja nustatyti aktualios turto būklės ir neįsipareigoja iškraustyti esančių daiktų.
Nekilnojamasis turtas parduodamas su elektros įvadu ir instaliacija, tačiau Turto bankas neturi sutarties su elektros tiekėju. Dėl turto apžiūros galimas kreiptis individualiai ir organizuojama ji tik iki registracijos į aukcioną pradžios. Pirkimo pardavimo sutarties projektai prieinami nuorodoje (pateiktoje originaliame dokumente). Aukciono dalyviai registruojami nuo 2025-10-06 ir registracija baigiasi 2025-10-08 23:59:59. Pats aukcionas vyks nuo 2025-10-13 09:00:00 iki 2025-10-14 13:59:59.
Pradinė šio nekilnojamojo turto kaina aukcione yra 12231 EUR. Būtina sumokėti 1223 EUR garantinį mokestį ir 40 EUR registracijos mokestį. Pirkėjas įgyja turtą esamos fizinės ir funkcinės būklės bei pagal galiojančius kadastro duomenis. Pardavėjas Valstybės įmonė Turto bankas neįsipareigoja nustatyti aktualios turto būklės ir neįsipareigoja iškraustyti esančių daiktų.
Nekilnojamasis turtas parduodamas su elektros įvadu ir instaliacija, tačiau Turto bankas neturi sutarties su elektros tiekėju. Dėl turto apžiūros galimas kreiptis individualiai ir organizuojama ji tik iki registracijos į aukcioną pradžios. Pirkimo pardavimo sutarties projektai prieinami nuorodoje (pateiktoje originaliame dokumente). Aukciono dalyviai registruojami nuo 2025-10-06 ir registracija baigiasi 2025-10-08 23:59:59. Pats aukcionas vyks nuo 2025-10-13 09:00:00 iki 2025-10-14 13:59:59.
📍 Objekto lokacija
📍 Klaipėdos r. sav. Stragnų II k. Šauklių g. 1B-1
❓ Dažnai užduodami klausimai
Kokia pradinė šio buto kaina aukcione?
Buto pradinė kaina pakartotiniame aukcione yra 12231 EUR.
Kada vyks aukcionas dėl buto Šauklių g. 1B-1?
Aukcionas prasideda 2025-10-13 09:00:00 ir baigiasi 2025-10-14 13:59:59.
Kur tiksliai yra parduodamas nekilnojamasis turtas?
Nekilnojamasis turtas yra Klaipėdos r. savivaldybėje, Priekulės seniūnijoje, Stragnų II kaime, Šauklių g. 1B-1.
Kokie papildomi mokesčiai turi būti sumokėti dalyvaujant aukcione?
Reikalingas 1223 EUR garantinis mokestis ir 40 EUR registracijos mokestis.
Koks yra parduodamo buto plotas?
Parduodama dalis buto, kurio bendras plotas yra 38.93 kv. m (unikalus Nr. 4400-0666-1269:6036).
Kokios yra ypatybės, susijusios su įėjimais ir butų sujungimu?
Tarp butų įrengtos papildomos durys, todėl jie naudojami kaip vienas vienetas, tačiau įėjimas į 3 butą yra tik per pirmą butą, nes panaikintas įėjimas iš lauko į 3 butą.